Fotografija iz odprtih virov
Državni centralni inštitut za inženiring (TsNIImash, pod Roscosmos) čez 2 leti načrtuje izdajo serije novih pljuč vesoljski jetpacks za astronavte. Takšne torbe zagotoviti varno delo v vesolju in pomagati astronavtu vrnitev na postajo v nujnih primerih. To je poročal eden od razvijalcev nahrbtnikov – akademik kozmonavtov Ruske akademije astronavtike Mihail Burdajev.
Fotografija iz odprtih virov
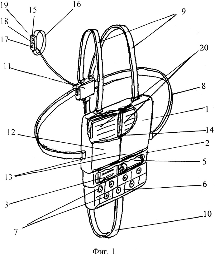
Torbica bo pritrjena na vesoljsko obleko, ključna značilnost torbice je sončne plošče, ki po potrebi obrni se. Baterije bodo napolnile baterijo iz katere je odvisno od delovanja električnega reaktivnega motorja.
Fotografija iz odprtih virov
Raziskovalec MIPT Ivan Zavjalov je pojasnil, da je običajno jet motor gori gorivo in hitrost naravnega izpust plina skozi šobo curka je zelo omejen, in elektromotorni motor ionizira plin in napolnjene ione pospešite z električnim poljem – posledično je hitrost izstopanja plina 10 in večkrat višji od kemičnega motorja. Zato tak motorji porabijo veliko manj goriva. V Rusiji sta dva proizvodna mesta, ki se ukvarjajo z ustvarjanjem elektro-kreativ motorji – OKB “Fakel” iz Kalinjingrada in OJSC “KB Himavtomatiki” iz Voroneža.
Poleg tega je novost izuma Burdajeva in njegovih sodelavcev iz TsNIImash je v dodatnih motorjih, ki bodo pritrdite pred vesoljsko obleko in služite kot zavora – astronavt potrebuje ponavadi varno srečanje z ladjo, ko leti nazaj pri visoki hitrosti. Domneva se, da je teža vesoljske torbe ne bo več kot 10 kg.
– Ideje vesoljskih nahrbtnikov za prosto gibanje vesolja že dolgo, tudi med pisci znanstvene fantastike. Eden prvih Američani so imeli raketno pištolo, s katero so imeli sama. To je majhen jet motor, ki spominja na ženski sušilec za lase. Pravzaprav lahko tudi letite s sušilcem za lase, čeprav ne na prostem prostora in znotraj postaje. Na primer, kozmonavt Jurij Artjuhin v notranjosti postaja letela na gospodinjskem sesalniku, – pravi Burdaev.
Človek se je prvič odpravil v vesolje pred 50 leti. 18. marec 1965 astronavt Aleksej Leonov je to storil na ladji “Sončni vzhod 2”. Trenutno ruski in ameriški astronavti za sklopitev s postajo uporabljajte halerje (kable) s karabinami, ki so pritrjeni na postajno stavbo. Koprive se izmenično oprijemajo strukturni elementi in so pritrjeni, kar astronavtom ne omogoča letijo v vesolje.
– vprašanja vgradnje opreme na zunanjo površino postaje, čeprav se upoštevajo in oblikujejo vnaprej, vendar še vedno zahtevajo človeško udeležbo. Medtem ko nimamo popolnih strojev in roboti, ki lahko nadomestijo človeško delo v vesolju, obstaja tudi potreba po popravilu opreme. Na primer v Leta 1979 sta odšla kozmonavta Vladimir Lyakhov in Valery Ryumin odprli prostor v nenačrtovanem načinu in sprostili anteno KRT-10, ki je, ko se je ločil od postaje, šel narobe, priklenil za sosednjo napravo in moti polet ladje. V podobni situaciji robot ne bo pomagal, «pravi astronavt Burdaev.
– Veliko je odvisno od velikosti varne odstranitve astronavta z postaja. V tem primeru mislimo na takšno oddaljenost od postaje, v katerem nahrbtnik zagotavlja povratek. Navsezadnje vsi naprave imajo omejitev možnosti. Sončna energija lahko premaknite astronavta – odvisno od velikosti sonca baterije – na 50-100 m. In potem se bo končalo kot bencin. Američanom je uspelo oditi na morje za več deset metrov. Uspejo odstraniti iz porabljene vire satelite najdragocenejše dele in jih montira na nove izstrelitve sateliti. Se pravi, da satelit zapusti Zemljo ne v množici, ampak samo delno.
Fotografija iz odprtih virov
Trenutno je podjetje “Star” (razvija se Vesoljske obleke) je bila ustvarjena astronavtska reševalna enota (USK), ki ponuja priložnost za vrnitev v mednarodni prostor postajo, vendar trenutno ni v uporabi. Njena teža 55 kg, nima zavorne naprave in je odsoten polnjenje od sonca.
– V osemdesetih letih so imeli ti objekti druge naloge. Sovjetski in ameriški strokovnjaki so bili zaposleni pri razvijanju orodij gibanje astronavtov (SPK) v vesolju. Sovjetski Izum 400 kilogramov v vsakdanjem življenju se imenuje “motocikel”, spominja tudi na stol z ročaji je nahrbtnik, ki se pritrdi na vesoljsko obleko in se nahaja zadaj plinske jeklenke in motorji. To orodje je lahko odletelo z mesta postajo ali iz shuttle-ja, zajeti ali pregledati katero koli satelit in se vrnite nazaj. Prazno ali s satelitom. Sovjetska naprava je bila za preverjanje uporabljena le enkrat 1990 letnik. Zdaj je izziv varnost. Če oseba se je odpravila, vrniti jo je treba, – pove poslanec Glavni projektant OAO NEK Zvezda Aleksander Lazutkin. – Naslednja generacija naprav je bila ameriška SAFER – Poenostavljena Pomoč za EVA Rescue, dobesedno “lahka reševalna naprava astronavta v vesolju, “izšla leta 1994. To manjšo namestitev so Američani postavili na svoj prosti dan pred obleko. Naprava je majhna ogrodje za oskrbo s plinom V primeru ločitve astronavta od njene postaje vedno lahko začnete in se vrnete nazaj.
Ker pa še nihče ni prišel s postaje, SAFER nikoli več imenovanja ni izkoristil, pravi Burdaev, čeprav ga nosijo vesoljski plov. Poudaril je, da je nov razvoj vključuje najboljše ameriške in ruske izkušnje.
– Verjetnost ločitve od postaje je velika, vendar v primerih, ko astronavt se je odklopil in odletel v vesolje, v zgodovino nobene astronavtike. Bili so primeri, ko se je oseba izgubila v odsotnosti vrečko z orodjem ali drugimi stvarmi in so odletele, – pravi Burdajev. – Goriva v nahrbtniku je praviloma malo. Ampak če potem morate zagotoviti vrnitev z večje razdalje od 100 m bodo morali v projektu povečati količino goriva. Če je oseba letela v sončni senci bo zmrznil. Temperatura v prostoru doseže minus 70 stopinj in manj, v senci pa – minus 150 stopinj. V senci lahko plezaš, vendar ne za dolgo. Prve sovjetske postaje redno obrnjena glede na sonce ena stran, nato druga, torej kako so se upognili, ker ko sonce greje eno stran, še eno hlajenje – postaja se je, kot gosenica, zvila.
Glavni specialist raketne in vesoljske korporacije Energia, kozmonavt Jurij Usačev podpira razvoj novih orodij za premikanje v vesolju.
– Take naprave potrebujejo astronavti. Varnost danes Ruski astronavti zagotavljajo samo halyards in karabine, – je rekel Usačev.
Čas Roboti Rusija Ned
